第305批新车公示 金龙客车9款产品申报
发布时间:2018年02月10日 14:48 作者:钉钉 来源:完美作业网有免费视频
2018年2月10日,完美作业网有免费视频从工信部官网获悉,工信部根据《公告》管理的有关要求,将申报《道路机动车辆生产企业及产品公告》(第305批)的车辆新产品予以公示,请社会各界监督,如有异议,请在公示期内通过网上意见征求系统反馈意见。公示时间:2018年2月9日至2018年2月15日。
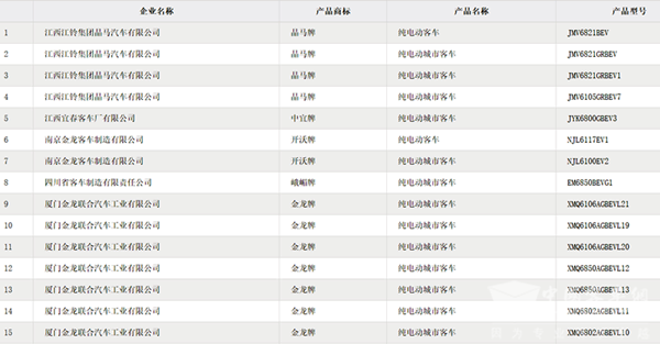
完美作业网有免费视频了解到,申报的客车新产品共65款,新能源客车61款,传统客车4款。其中,61款新能源客车新产品中,包括纯电动客车产品(含底盘)56款,插电式混合动力客车(含底盘)有4款,燃料电池客车有1款。传统客车分别为安凯牌客车HFF6700KQE4FB3、金旅牌客车XML6129J15Y2、钻石牌城市客车SGK6605GK02、 宇通牌双层低入口城市客车ZK6116HGS3。在申报客车新产品的企业中,金龙客车申报车型最多,有9款,全部为纯电动客车;宇通客车、比亚迪和安凯客车都申报了6款,并列第二;江铃晶马、东风特汽、北汽福田均申报了4款,并列第三。
以下为65款客车新产品公示:





链接:/policy/2018/0210/article_82442.html
完美作业网有免费视频推荐阅读
完美作业网有免费视频[www.mnpgideationbank.com]版权及免责声明:
1、凡本网注明“来源:www.mnpgideationbank.com” 的所有作品,版权均属于完美作业网有免费视频,未经本网授权,任何单位及个人不得转载、摘编或以其它方式使用上述作品。已经本网授权使用作品的,应在授权范围内使用,并注明“来源:www.mnpgideationbank.com”。违反上述声明者,本网将追究其相关法律责任。
2、凡本网注明 “来源:XXX(非完美作业网有免费视频)” 的作品,均转载自其它媒体,转载目的在于传递更多信息,并不代表本网赞同其观点和对其真实性负责。
3、如因作品内容、版权和其它问题需要同本网联系的,请在30日内进行。
※ 有关作品版权事宜请联系:copyright#chinabuses.com
1、凡本网注明“来源:www.mnpgideationbank.com” 的所有作品,版权均属于完美作业网有免费视频,未经本网授权,任何单位及个人不得转载、摘编或以其它方式使用上述作品。已经本网授权使用作品的,应在授权范围内使用,并注明“来源:www.mnpgideationbank.com”。违反上述声明者,本网将追究其相关法律责任。
2、凡本网注明 “来源:XXX(非完美作业网有免费视频)” 的作品,均转载自其它媒体,转载目的在于传递更多信息,并不代表本网赞同其观点和对其真实性负责。
3、如因作品内容、版权和其它问题需要同本网联系的,请在30日内进行。
※ 有关作品版权事宜请联系:copyright#chinabuses.com
热点新闻
- 每辆补贴4.2-8万元!新能源城市公交及动力电池更新补贴标准出台[09-26]
- 交通运输部:全力做好2024年中秋国庆假期交通运输服务保障[09-13]
- 12城入围!交通部印发2024年城市公交优先发展和绿色出行典型案例[09-13]
- 交通运输部修订印发《汽车客运站安全生产规范》[09-12]
- 六部门组织开展2024年绿色出行宣传月和公交出行宣传周活动[09-06]
- 工信部等八部门:做好老旧新能源城市公交车辆动力电池更换工作[08-21]
- 行业观察|国务院审议通过《城市公共交通条例》将为行业带来哪些利好?[08-20]
- 政策解读|交通部印发《农村客货邮运营服务指南(试行)》的通知[08-16]
品牌推荐
更多>>